ホーム > 圧力分布測定システム > 用途別システム一覧 > 汎用圧力分布 I-SCAN

| プレス圧力分布 | 液晶ガラス張り合わせ工程 | 水の噴射圧 |
| シリコンウェハ研磨圧力分布 | ICチップ押付圧力分布 | サーマルヘッド圧力分布 |
| ロボット把持圧力分布 | スキージ圧力分布 | ラミネートロール間圧力分布 |
| 製缶印刷圧力分布 他 |
| 2次元・3次元表示 | 単位の変更 | ASCIIデータへのセーブ |
| 等圧線表示 | ピークプレッシャー表示 | データのカラープリントアウト |
| データの平均化処理 | 力対時間のグラフ | 各種データの編集機能 |
| COF(力の中心点)表示 | 圧力の断面表示 | ズームアップ機能 |
| COFの軌跡の表示 | サンプリング速度の変更 | データのレコーディング |
| 接触面積の表示 | トリガー機能 | ノイズスレッショルドの変更 |
| 自動出力補正機 | レコーディングデータの 2画面表示他 |

| 呼称 | 分解能 (mm) |
マトリックス数 | センサー部サイズ (mm) |
測定範囲 (KPa) |
寸法 (mm) |
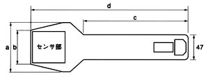
| 40 | 1 | 44×44 | 44×44 | (H)50〜500 | a:77.5 b:64 c:294 d:370 |
| 50 | 1.27 | 56×56 | (2.5)25〜250 (H)70〜700 (R)350〜3500 |
a:85 b:62 c:290 d:380 |
|
| 75 | 1.91 | 84×84 | (1.5)15〜150 (R)210〜2100 |
a:123 b:88 c:249 d:380 |
|
| 100 | 2.54 | 112×112 | (0.5)5〜50 (H)20〜200 (R)130〜1300 |
a:149 b:116 c:248 d:420 |
|
| 150 | 3.75 | 165×165 | (R)130〜1300 | a:200 b:170 c:90 d:320 |
|
| 210 | 5.4 | 238×238 | (0.8)8〜80 (H)20〜200 (R)130〜1300 |
a:284 b:250 c:200 d:540 |
|
| 10×10 | 1.27 | 10×10 | 12×12 | (2.5)25〜250 | a:28 b:19 c:139 d:252 |
○センサ内分布精度 ±20%
○サンプリング速度 最大100Hz
○測定範囲は変更することができます。
○1KPa≒0.01kgf/cm²